Big plans lie ahead for cloud-computing giant AWS as it announces its most recent developments in the world of artificial intelligence (AI). Firstly, the company is opening a new AI machine learning lab called ML Solution Lab. This will enable customers to hook up with the right Amazon machine learning expert to develop a solution together using AI technology. The other thing the company’s doing is ramping up the features of Amazon Rekognition.
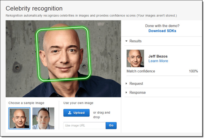
Amazon Rekognition is the company’s deep-learning platform that’s based on image recognition. It has the ability to decipher text in images and has real-time facial recognition capabilities.
Both of these upcoming changes come at a time when both Amazon and AWS are pushing more towards the integration of AI in their services. Around a month ago, AWS announced its intention to team up with Microsoft with deep learning interface, Gluon. This was to allow developers to build and run more efficient and more advanced AI systems and applications.
“We can’t wait for developers to start their journeys into machine learning with the Amazon ML Solutions Lab,” said Swami Sivasubramanian, vice president of Amazon AI. “By combining the expertise of the best machine learning scientists and practitioners at Amazon with the deep business knowledge of our customers, the Amazon ML Solutions Lab will help customers get up to speed on machine learning quickly, and start putting machine learning to work inside their organisations.”
One of the company’s biggest customers using the new Rekognition features is web and mobile application startup, Pinterest. A spokesperson for Pinterest recently said: “We’re in the early stages of exploring Rekognition with Amazon to scale a subset of Pins in AWS S3, but continue to have a visual discovery team dedicated to building and scaling technologies within Pinterest.”
Pinterest stores millions of pins currently in an Amazon S3 cloud, so it makes sense for the company to develop some kind of AI software that can identify text within them. “As a visually-driven platform, Pinterest relies heavily on the speed and quality of images, but the text behind those images is just as important, as it provides context and makes Pins actionable for our 200 million-plus active Pinners,” said Pinterest’s CTO, Vanja Josifovski. “We look forward to continuing to develop the partnership with AWS for high quality and fast experiences for Pinners and businesses on Pinterest.”
Sources Techrunch

















